行业动态

了解最新公司动态及行业资讯

手摇式球形土壤筛分器分离效果怎么样

2018-08-11 01:36:25 361 编辑:admin 来源:本站
     在对土壤样品进行分析时,由于分析要求的不同,需将土壤经过不同目数的土壤筛 进行分离。目前科研中使用的土壤筛分离效果较差,且费时费力,以上装置均采用平面筛网对土壤进行筛分。此类装置使用 时均是将破碎的土壤样品置于筛网表面,利用双手往复振荡和重力作用筛分所需大小的土 壤颗粒,这种方法不但费时费力,而且振荡过程中土壤颗粒极易堵塞筛孔,不但分离效果较 差,而且分离效率也较低。 
土壤筛分

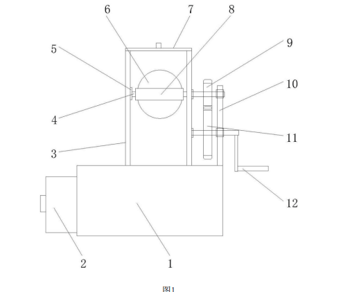
    一种手摇式球形土壤筛分器,包括分离装置、圆桶结构、球形筛和摇把结构,所述圆桶结构上方安装有密封盖,且圆桶结构下方螺接在分离装置上,所述固定圈主体侧面上位于圆桶结构外侧设置的固定轴上固定有从动齿轮,且固定轴末端固定在分离装置右侧设置的支撑柱上方,所述从动齿轮与下方设置的传动齿轮啮合在一起,且传动齿轮安装在穿过支撑柱的摇把结构上。该手摇式球形土壤筛分器,与手动震荡筛分相比,具有实用方便、节省操作时间和提高过筛效率等优点,同时采用双半球形的球筛网能够有效解决土壤颗粒堵塞筛孔的问题,转动过程中土壤颗粒会不断接触新的筛面,明显提高了过筛效率。

30

装备制造经验

立即免费获取土壤修复方案

为用户提供及时、高效、便捷的服务

在线咨询
德森环境希望与你携手,共创美好未来...
5